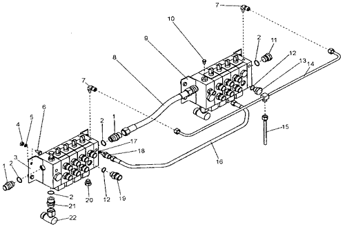
| на рис. | Обозначение | Наименование | Кол-во в сб. ед. |
| 1 | ДЗ-98В.43.19.005 Штуцер | 3 | |
| 2 | 024-028-25-2-2 | Кольцо ГОСТ 18829-73 ГОСТ 9833-73 | 6 |
| 3 | РМ16П-ППС-020Бх4 | Гидрораспределитель | 1 |
| 4 | М10-6Н.5.019 (S16) | Гайка ГОСТ 5915-70 | 8 |
| 5 | 10.65Г.019 Шайба ГОСТ 6402-70 | 8 | |
| 6 | М10-6gx25.58.019(S16) | Болт ГОСТ 7798-70 | 8 |
| 7 | ДЗ-98В.43.19.004 Угольник | 2 | |
| 8 | 16.120.650.0,2.11 11.М27х1,5/М27х1,5-У1 | РВД ТУ 3148-001-20871731-94 | 1 |
| 9 | РМ 16П-НС-020Бх4-КТ | Гидрораспределитель | 1 |
| 10 | ДЗ-98.43.00.034 Пробка | 1 | |
| 11 | ДЗ-98В.43.19.006 Заглушка | 1 | |
| 12 | 021-024-19-2-2 | Кольцо ГОСТ 18829-73/ГОСТ 9833-73 | 16 |
| 13 | ДЗ-98В.43.19.002 Пробка | 2 | |
| 14 | ДЗ-98В.43.19.040 Труба | 1 | |
| 15 | ДЗ-98В.43.10.030 Труба | 1 | |
| 16 | 12.120.850.0,18.11 | РВД ТУ 3148-001-20871731-94 | 1 |
| 17 | 011-014-19-2-2 | Кольцо ГОСТ 18829-73/ГОСТ 9833-73 | 2 |
| 18 | 048.05.01.003 | Штуцер | 2 |
| 19 | 048.05.01.042 | Штуцер | 14 |
| 20 | 067.44.11.041 Пробка | 2 | |
| 21 | 048.05.01.024 Штуцер | 2 | |
| 22 | ДЗ-98В.43.19.020 Угольник | 2 | |
Гидрораспределитель РМ16П-ППС-020Бх4
Читать ещё
Заполните форму и мы свяжемся с вами в ближайшее
время и ответим на все интересующие вопросы.
Задать вопрос
