Двигатель У1Д6-ТК-С5 имеет "сухой" картер, поэтому в систему смазки двигателя входит масляный бак 1 (рис. 2.12). Другими основными составными частями системы смазки являются масляный насос 7 двигателя, масляный радиатор 5, редукционный клапан 6, маслозакачивающий насос 8 и система трубопроводов.
Масляный бак сварной конструкции имеет заливную горловину, масломерную линейку, сливной кран. Бак соединен с атмосферой через "суфлер" картера двигателя. Бак с картером сообщается специальной пеноотводящей трубкой. При эксплуатации необходимо следить за чистотой набивки "суфлера", ибо при его засорении возрастает давление в масляном баке, что может привести к деформации бака.
Для обеспечения смазки поверхностей трущихся деталей двигателя перед пуском (с целью уменьшения) производится прокачка главной масляной магистрали двигателя маслом, поступающим под давлением от маслозакачивающего насоса. Этот насос имеет индивидуальный привод (электромотор), управление которым осуществляется ключом выключателя стартера.
Система смазки работает следующим образом. При прокачке перед пуском двигателя масло из масляного бака 1 по трубопроводу засасывается маслозакачивающим насосом 8 и нагнетается в масляный полнопоточный фильтр 3. Одновременно масло подается к клапану устройства для остановки двигателя. Пройдя фильтр, масло по трубопроводу поступает к корпусу привода вентилятора и оттуда через центральное уплотнение - в главную магистраль двигателя. После достижения давления масла в главной магистрали, равного 0,25 МПа (2,5 кгс/см²), обеспечивается смазка подшипников и включение клапана устройства для остановки двигателя. После пуска двигателя нагнетающая секция масляного насоса 7 засасывает масло из бака по трубопроводу и нагнетает его в масляный фильтр 3.
Масло, пройдя через фильтр, подается к корпусу привода вентилятора. Для контроля степени засорения фильтра 3 в нагнетающей магистрали перед ним установлен манометр 2. Второй такой же манометр установлен за фильтром. При разности давлений более 0,23 МПа (2,3 кгс/см²) по показанию манометров следует заменить фильтрующие элементы. Вытекая из мест смазки, масло собирается в картере двигателя, оттуда подается откачивающей секцией масляного насоса 7 к редукционному клапану 6 по трубопроводу. Из редукционного клапана часть масла нагнетается по трубопроводу в компрессор пневмосистемы для смазки, а другая часть через масляный радиатор 5 сливается в масляный бак по трубопроводу.
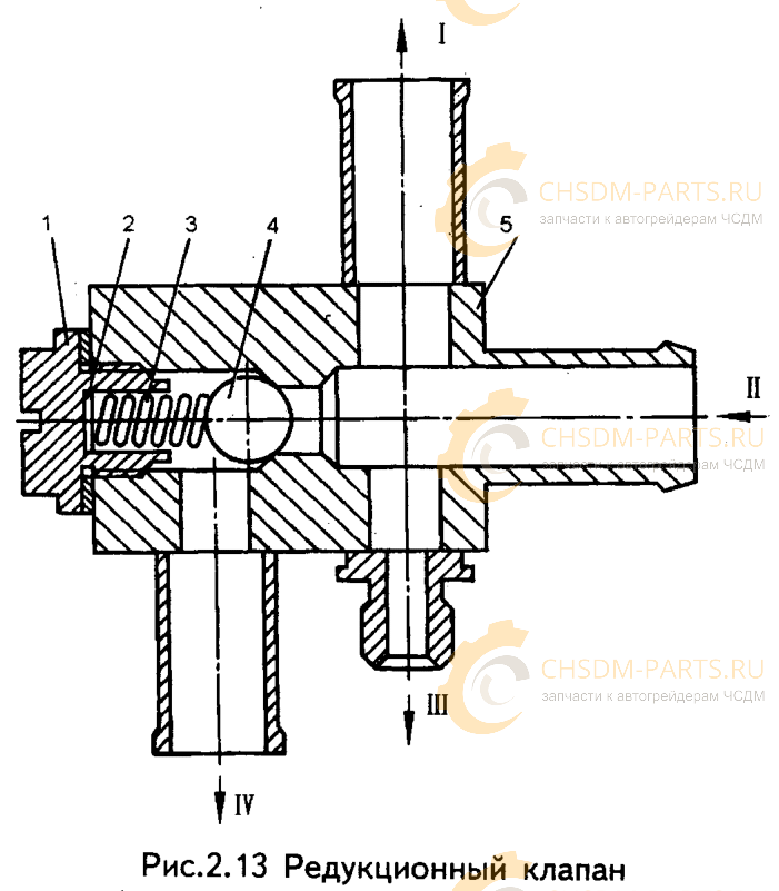
I - отвод масла в радиатор; II - подвод масла из главной магистрали; III - отвод масла в компрессор; IV - слив в бак
Для предохранения трубок масляного радиатора от разрыва, что возможно при повышении давления, создаваемого холодным маслом, редукционный клапан (рис. 2.13) отключает масляный радиатор. Для этого клапан отрегулирован на давление 0,08...0,13 МПа (0,8...1,3 кгс/ см²), что соответствует сопротивлению радиатора при прохождении через него нагретого масла. Если масло холодное, то оно поступает из двигателя в. бак, минуя радиатор, по трубопроводу, входное отверстие которого открывается при отжатии редукционного клапана
ВНИМАНИЕ! ПУСК ДВИГАТЕЛЯ ВОЗМОЖЕН ЛИШЬ ПОСЛЕ ПРОКАЧКИ МАСЛА.
Для предупреждения возможных случаев пуска двигателя без осуществления прокачки масла в системе питания двигателя (перед топливным насосом высокого давления) установлен специальный клапан, который обеспечивает поступление топлива в насос при создании давления не менее 0,25...0,3 МПа (2,5...3 кгс/см²) в главной масляной магистрали.
Особенности систем смазки ЯМЗ
Все составные части системы смазки двигателя ЯМЗ-8482.10-01 являются принадлежностью двигателя. Сведения по устройству и работе системы в целом, а также ее составных частей, изложены в техническом описании и инструкции по эксплуатации двигателя.
Особенности систем смазки двигателей ЯМЗ-240Г, ЯМЗ-238НДЗ и ЯМЗ-238НД2:
- выполнены по принципу "мокрого" картера, т.е. в системах отсутствует масляный бак;
- у двигателей ЯМЗ-238НДЗ и ЯМЗ-238НД2 отсутствует маслозакачивающий насос;
- давление масла в системе двигателя ЯМЗ-240Г, создаваемое маслозакачивающим насосом перед пуском двигателя, должно быть не менее 0,1 МПа (1 кгс/см²).
